
ASCO 531系列是一种先导式电磁阀,利用进气口的气源推动阀芯的滑动,通过电磁感应产生的力控制进入滑阀(即阀芯)的气源,从而控制阀芯的滑动,并不是电磁感应产生的力直接控制滑阀。

进气口1接气源,出气口2接阀门气缸下室,出气口4接阀门气缸上室,电磁阀失电,阀门处于开启状态,电磁阀得电,阀门处于关闭状态。
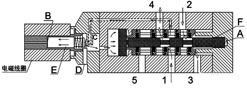
1、ASCO 531电磁阀失电状态
在电磁阀失电状况下,进气口1与出气口2相通,出气口4与排气孔5相通,活塞F在阀内弹簧A的弹力下保持在左边的位置,进气口1处的气源通过下图红色箭头孔(该进气孔为独立孔,只与进气口1连接,不与出气口4连接)连接腔室内的C进气口;
铁芯E在弹力作用下顶住进气口C,将进气口C堵住;

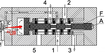
2、ASCO 531电磁阀得电状态
当电磁阀得电,铁芯E克服弹簧的弹力向左运动,进气口C开始进气,在气源压力下推动活塞F克服弹簧A的弹力向右运动,进气口1与出气口4相通,出气口2与排气孔3相通,4接阀门气缸上室,阀门将关闭;

3、ASCO 531最小气源压力
活塞F克服弹簧A的弹力向右运动,当进气口1的气源压力过小时,A的弹簧力大于气源压力产生的推力,活塞F将无法动作;所以电磁阀有一个最小动作压力,ASCO 531系列为2Bar;


4、手动控制
当ASCO 531电磁阀电源故障没电时,可以通过手动开关控制阀位切换,逆时针旋转手动开关,铁芯向左运动,阀芯向右运动,进气口1与出气口4相通;


