S7-300 PLC是西门子产品应用最多的PLC,由于西门子其他系列的PLC系统的特性与S7-300 PLC产品均类似,因此介绍的PLC接地规范适用于所有PLC系列。
1、西门子S7-300 PLC系统接地的总原则
对于PLC及控制系统整体的供电及接地的要求,主要有以下几点原则:
①系统主回路采用三相五线制供电,主回路须增加相应的开关及保护装置。
②负载电源从主回路供电中取电,如果是多个负载电源,则应按照负载均衡的原则进行分配。
③负载侧电源,无论是直流还是交流,均应增加短路和过载保护。
④系统接地电阻不大于4欧姆。
⑤机柜中的接地母线与系统的PE线相连。
⑥机柜的外壳、设备安装背板均应保证通过金属部件连接在一起,并与接地母线相连。
⑦设备安装背板应考虑EMC特性(例如采用镀锌板)。
⑧系统中的电气设备的PE端子应与接地母线相连,并保证就近相连以及连接电缆尽量粗、尽量短的原则。
⑨应注意柜内电气设备的其他接地要求。
关于这些原则,请参考西门子S7-300 PLC的供电及接地原理图,如图1所示。

图1 西门子PLC系统供电、接地原理图
说明:1为主令开关;2为短路和过载保护;3为负载电流源(电气隔离);4为接地导体的可拆卸连接,用于定位接地故障;5为CPU(非CPU 31×C)的接地滑动触点。
2、西门子S7-300 PLC系统的接地规范
①电源模板(PS307)的接地要求
对于电源模板,供电均采用AC220V/120V电源(电源需要连接PE线)。电源模板输出为CPU及模板提供DC24V电源,如图2所示。

图2 PS电源和CPU连接示意图
说明:1为电源电缆上的电缆夹;2为PS电源和CPU连接电缆;3为可拆卸的电源连接器
注意: 如果将M和L+端子的极性接反,则CPU的内部熔丝便会熔断。始终将电源模块的M和L+端子与CPU的这两个端子互连。
②CPU的接地连接
A、CPU 31×接参考地电位
在西门子S7-300的CPU的电源端子处,插着一个滑动金属片,将该滑动金属推进去时,DC24V的M端将通过该滑动金属片与CPU的安装导轨相连,通过导轨实现接地,所有从M来的干扰电流都可以被释放至接地导线/地,如图3所示。

图3 CPU 31×的接地参考接地示意图(默认状态)
说明:1为处于接地状态的接地滑动触点;2为内部CPU的接地电位;3为装配导轨
默认情况下,滑动金属片都是推进去的。当安装具有接地参考电位的S7-300时,不要拔出接地滑动触点。实际设备中如图4所示。

图4 CPU上的滑动金属片未拔出
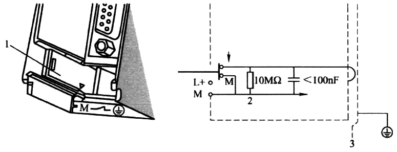
B、CPU 31×浮地系统
如果系统的“地”不干净,或希望将系统做出浮地的,则可以将该金属滑动片撬出,此时M和导轨分开,系统与“地”是不直接相连的,而是通过RC回路进行隔离连接的。如图5所示。

图5 CPU 31×的未接地参考电位示意
说明:1为CPU中创建未接地参考电位 用大口3.5mm的螺丝刀顺箭头方向往前推动接地滑动触点;2为内部CPU的接地电位;3为装配导轨。
注意: 应在导轨上安装设备之前首先设置未接地参考电位。如果已经安装并且用导线连接了CPU,则在拔出接地滑动触点之前可能不得不断开MPI接口。实际设备中如图6所示。

图6 拔出CPU上的金属滑动片
③I/O模板的接地要求
A、数字量模板
S7-300系列的数字量输入/输出模板并不需要特殊额外的接地处理,只是对于提高系统EMC特性来讲,需注意以下几点:
◆ 数字量输入/输出的导线长度要求:1000m屏蔽线,600m非屏蔽线。
◆ 屏蔽电缆处理屏蔽层时用金属夹夹住编织带屏蔽层。保证大面积的接触屏蔽层,并提供适当的接触压力。图7显示了使用电缆夹安
装屏蔽电缆的几种处理方式。

图7 电缆夹安装屏蔽电缆示意图
实际的安装可参考图8所示。

图8 屏蔽层通过电缆夹卡在柜内接地排上
而数字量输出模块有时需进行抑制保护。但由于S7-300数字输出模块内部集成了浪涌抑制器,因此对于电感设备来讲,仅在下列情况之下才需要附加的浪涌抑制设备:
◆ SIMATIC输出回路可以用外部的设备(如继电器触点)来切断;
◆ 如果感性负载不由SIMATIC模块控制。
a、DC线圈
采用二极管或齐纳二极管可以抑制直流电源驱动的线圈所产生的浪涌电压,如图9所示。

图9 DC线圈的浪涌抑制
图10是直流接触器上增加续流二极管的实际应用。

图10 直流接触器上的续流二极管
用二极管或齐纳二极管作抑制器具有下列特点:
◆ 可避免开关动作时产生的过电压,齐纳二极管有较高的关断电压;
◆ 提高了关断延迟时间(比没有抑制器时高出6-9倍)。由齐纳二极管组成的抑制器的关断比二极管抑制器快。
b、AC线圈
用压敏电阻或RC网络可抑制以AC电源驱动的线包所产生的浪涌电压,如图11所示。

图11 AC线圈的浪涌抑制
图12是交流接触器上增加压敏电阻和RC回路的实际应用。

图12 交流接触器上的续流回路(压敏电阻和RC回路)
用压敏电阻作抑制器具有下列特点:
◆ 开关时的过电压的幅度可以被限制,但不能衰减;
◆ 浪涌电压陡峭的上升沿仍保持不变;
◆ 关断延时短;
◆ 另外,压敏电阻有电压幅值的要求(一般是高于正常工作电压的10%),不能长时间的过压,否则有可能损坏。
用RC回路作抑制器具有下列特点:
◆ 开关时的过电压的幅度和陡峭的上升沿都被降低;
◆ 关断延时短。
B、模拟量模板的接地要求:
a、模拟量信号电缆的一般要求:
◆ 模拟量信号线采用屏蔽电缆;
◆ 模拟量信号线尽量短,其中模拟量输入最长200m屏蔽线;若电压范围≤80mV且使用热电偶时,最长50m(热电偶模块最长80m);模拟量输出最长200米屏蔽线。
◆ 屏蔽层做接地处理,建议采用屏蔽线一端接地,并在模板侧单端接地。模拟量线的屏蔽层的接地方法,如图5所示。
b、电气隔离模拟量输入模块
电气隔离模拟量输入模块在测量电路的参考点(MANA和/或M-)和CPU/IM 153的M端子间存在任何电位差VISO的风险,请务必使用信号隔离器SWP9034A模块。
通过CPU/IM153的M和端子MANA之间的等电位互联,可以避免电位差VISO超过限制值。
这里分为几种情况:
情况I:将电气隔离传感器连接到电气隔离模拟量模板,可以在接地模式或未接地模式操作CPU/IM 153,如图13所示。

图13 将电气隔离传感器连接到电气隔离AI
在EMC干扰强烈的环境中,建议将M-和MANA连接,以防超出CMV的限制值。对于VCM≤2.5V的模拟量模块,必须将M-和MANA互连(推荐连接处)。
VCM不得超过允许的电位差UCM(共模)。VCM故障可存在于
◆ 测量输入(M+/M-)和测量电路的参考电位MANA之间
◆ 在测量输入之间。
情况Ⅱ:将电气隔离传感器连接到非电气隔离模拟量模板。可以在接地模式或未接地模式下操作CPU/IM 153,如图14所示。

图14 将电气隔离传感器连接到非电气隔离AI
注意:连线并连接2线制传感器和电阻型传感器时,切勿将M-和MANA互连。在M-和MANA互连处生成均衡电流,并破坏测量值。
C、非隔离模拟量输入模块
非隔离传感器与本地接地电位互连。使用非隔离传感器时,请务必始终将MANA和本地接地点互连。
当地的环境条件或干扰都有可能引起本地分布的测量点之间的电位差VCM(静态或动态)。如果超出VCM的最大值,请用等电位导线连接各测量点。
情况I:将非隔离传感器连接到电气隔离模拟量模板。将非隔离传感器连接到电气隔离模块时,可在接地模式或未接地模式下操作CPU/IM 153,如图15所示。

图15 将非隔离传感器连接到电气隔离AI
情况Ⅱ:将1非隔离传感器连接到非隔离模拟量模板。如果将非隔离传感器连接到非隔离模块,请务必在接地模式下操作CPU/IM 153,如图16所示。

图16 将非隔离传感器连接到非电气隔离AI
注意:不得将非隔离二线制传感器/电阻传感器连接到非隔离模拟量输入!
D、模拟量输出模板的连线及接地处理
对于模拟量输出模板与负载之间的连线,与模拟量输入的处理方法类似,这里不再详细介绍,仅给出相应的图例及说明。
情况Ⅰ:将4线负载连接到电气隔离模块的电压输出。采用4线负载电路可获得更高的精度。对S-和S+传感器线路直接接线并连接到负载。这样即可直接测量和修正负载电压。干扰和电压突降可能会在检测线路S-和模拟电路MANA的参考回路同产生电位差。此电位差不得超过设定的限制值。任何超过限制值的电位差都会对模拟信号的精度产生不利影响,如图17所示。

图17 负载到电气隔离模拟量输出模块电压输出的4线制连接
情况Ⅱ:将2线制负载接线到非隔离模块的电压输出。将负载连接到Qv端子和测量电路MANA的参考点,如图18所示。在前连接器中,将端子S+互连到Qv,将端子S-互连到MANA;2线制电路不提供线路阻抗的补偿。

图18 负载到非隔离模拟量模块电压输出的2线制连接
情况Ⅲ:电流型输出。
◆ 将负载连接到电气隔离模块的电流输出,如图19所示。

图19 将负载连接到电气隔离模拟量输出模块的电流输出
◆ 将负载连接到非隔离模拟量输出模块的电流输出,如图20所示。

图20 将负载连接到非电气隔离模拟量输出模块的电流输出
E、接地电缆的要求
对于PLC系统,常用电缆的线径和布线要求如下:
要求I:使用正确的导线确保线径适合承载所需的电流,电源和CPU的接线条件见表1
表1 电源和CPU的接线条件

前连接器的接线条件见表2
表2 前连接器的接线条件

要求Ⅱ:系统布线分组(高压/电源/信号/数据电缆),用单独的管道或单独的电缆束来布放高压、信号或数据线。数据电缆和低压电缆与其他电缆的布置要求见表3。
表3 数据电缆和低压电缆与其他电缆的布置要求

中压电缆和其他电缆的布置要求见表4
表4 中压电缆和其他电缆的布置要求

大于400V电压电缆和其他电缆的布置要求见表5
表4 大于400V电压电缆和其他电缆的布置要求

要求Ⅲ:所有地线应尽可能地短且应使用大线径。例如:最小直径为10mm2。保护导体连接导轨接线如图如21所示。

图21 保护导体连接导轨连接示意图
实际安装如图22所示。

图22 现场安装的导轨接地
注意: 请始终确保保护导体和导轨之间的低阻抗连接。可通过以下方法达到此目的:使用低阻抗电缆,尽可能地缩短该电缆的长度,使用较大的接触表面积。


