冷凝罐制作DIY
冷凝罐是压力变送器在测量高温介质(比如蒸汽)压力时使用,用于降低介质温度,保证压力变送器工作在合适的温度。冷凝罐的制作图如图1所示,材料用20号钢。

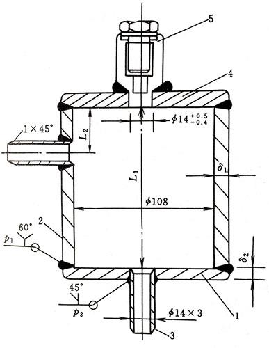
图1 冷凝罐外形尺寸
图例说明:
1为底板;2为筒体,尺寸为Ф108×6mm、L1=150mm;3为接管,尺寸为Ф14×3mm、L2=55mm;4为底板,δ2;5的尺寸为M18×1.5或M20×1.5丝堵。
表1 冷凝罐尺寸
|
公称压力/MPa |
冷凝罐尺寸 |
试压/MPa |
||||
|
δ1/mm |
D1/mm |
δ2/mm |
P1/mm |
P2/mm |
||
|
6.4 |
6 |
86 |
15 |
1 |
11 |
9.6 |
|
16 |
10 |
78 |
15 |
2 |
9 |
24 |
1、冷凝罐制作技术要求
①按钢制焊接容器技术条件进行制造、试验和验收。
②焊接采用电焊,焊条型号为T422。
③容器制成后进行水压试验,试验压力如表1所示(工称压力的1.5倍)。
④制成的容器表面涂漆,油漆的规格由设计确定。
2、冷凝罐的安装注意事项
①检测流量,必须保持冷凝器水平。不能因冷凝罐的人为误差,造成检测误差。
②必须保持冷凝罐水平面有一定高度。水平面降低,应立即加水保证平面高度。
温度计扩大管的制作
测温用的扩大管是温度传感器检测小管道温度的必备辅助设施,通常在现场制作。温度计扩大管制作方法有两种:一种是找一段200mm的108×4mm钢管,两头各留50mm,用作大小头的方法缩成;另一种测温扩大管制作方法是按标准图2做成,具体数据见表2,材料是10号钢、耐酸钢或同工艺管道。

表2 温度计扩大管尺寸
|
管道通径DN |
10 |
15 |
20 |
25 |
32 |
40 |
50 |
70 |
|
大小头长度A |
120 |
120 |
100 |
100 |
100 |
75 |
75 |
75 |


